文/集佳知識產權代理有限公司 趙秀芹
摘要:本文結合一復審案例,根據合議組下發的復審決定書中有關區別技術特征是否為本領域技術人員容易想到的技術特征和區別技術特征是否為本領域的常規技術手段的闡述,探討申請人或代理人在實際工作中如何答辯審查員下發的技術特征為“容易想到”和“常規技術手段”的審查意見。
關鍵詞:創造性、容易想到、常規技術手段、技術啟示
一、引言
在審查員下發的一些審查意見中,往往以本領域技術人員很容易想到區別技術特征或者區別技術特征為本領域的常規技術手段為由,而認為權利要求不具備創造性。
而由于在《審查指南》中,對“容易想到”和“常規技術手段”沒有明確的解釋和說明,其本身帶有很多的人為主觀因素,且沒有客觀證據,致使申請人或代理人針對此類審查意見很難找到比較有利的答復點。
本文將結合一復審案例探討如何答辯審查員下發的“容易想到”和“常規技術手段”的審查意見。
二、案情簡介
本文涉及的案件,其專利申請號為201110061456.5、發明名稱為《MEMS壓力傳感器及其制作方法》,在實審階段,審查員下發了四次審查意見,申請人對這四次審查意見進行了詳細答復,但最終以修改超范圍以及區別技術特征很容易想到和為本領域的常規技術手段為由,于2014年12月29日下發了駁回決定。
申請人不服上述駁回決定,于2015年4月09日提出了復審請求,在復審請求中,申請人僅對權利要求書做了克服修改超范圍的缺陷的修改,未對權利要求書做克服沒有創造性缺陷的修改,在復審請求附頁中做了不認同審查員的技術特征比對的意見以及區別技術特征對于本領域技術人員不容易想到或不屬于本領域的常規技術手段的意見陳述。
復審委以復審請求中提交的文本以及復審請求附頁為審查基礎,于2015年12月25日下發了撤銷駁回決定的復審決定書。
三、案例分析
本文僅對本案件的權利要求1的創造性方面進行詳細分析。
駁回決定中引用了如下對比文件:
對比文件1:CN186588A;
對比文件2:CN101082525A;
對比文件3:CN101171665A。
駁回決定所針對的權利要求1文本如下:
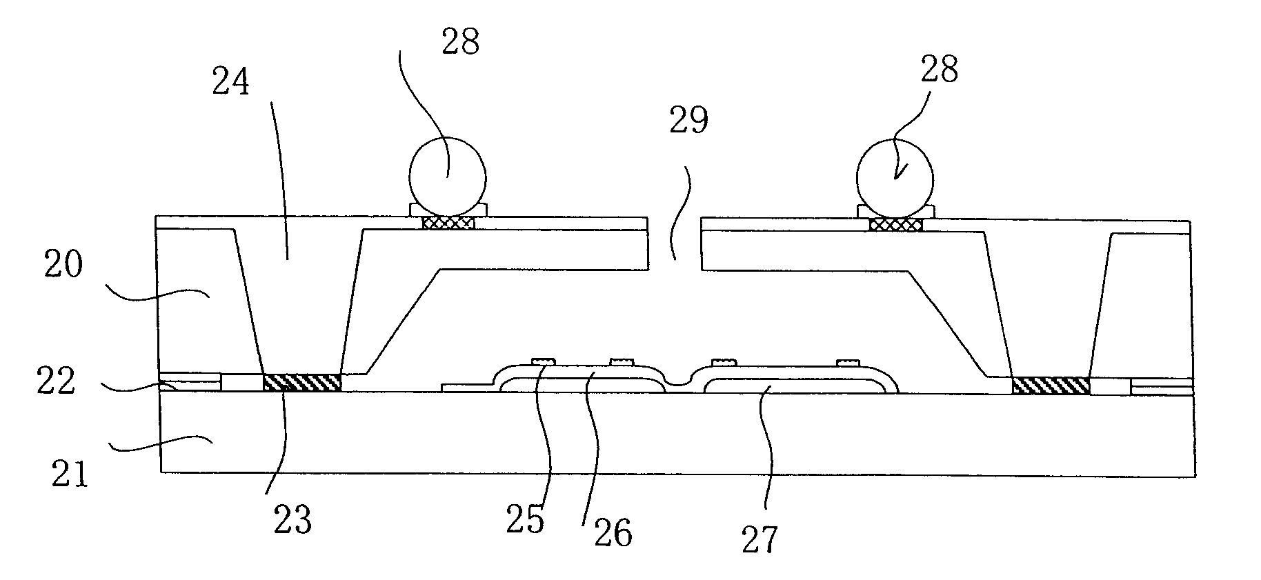
1、一種MEMS壓力傳感器,其特征在于,包括:
第一襯底,具有壓阻式壓力傳感單元、電連線擴散層和所述第一襯底表面的第一粘合層;所述壓阻式壓力傳感單元包括感應薄膜,所述感應薄膜中具有多個電阻構成的惠斯頓電阻橋;所述第一襯底的背面具有開口,該開口將所述感應薄膜暴露于大氣中;
第二襯底,具有導體間介質層、位于所述導體間介質層中的導體連線層和所述第二襯底表面的第二粘合層;所述第二襯底還包括信號處理電路,所述信號處理電路的上方為導體間介質層和導體連線層;
其中,所述第二襯底與第一襯底相對設置,通過第一粘合層和第二粘合層固定連接,所述第一粘合層與第二粘合層的圖案對應并且均為導電材料;
所述MEMS壓力傳感器還包括參考壓力腔,所述參考壓力腔位于感應薄膜與第二襯底之間。
審查員在駁回決定中主要認為:對比文件1中的硅底座圓片12相當于本申請權利要求1的第二襯底,對比文件1中的金屬層相當于本申請權利要求1的導體連線層。權利要求1與對比文件1的區別在于:(1)所述第二襯底表面還具有第二粘合層,且通過第一襯底表面的第一粘合層和所述第二粘合層將第一襯底和第二襯底固定連接,所述第一粘合層與第二粘合層的圖案對應并且均為導電材料;此外,所述第二襯底還包括信號處理電路,所述信號處理電路的上方為導體間介質層和導體連線層;(2)將所述壓阻式壓力傳感器單元包括的引壓腔設置為參考壓力腔。
對于區別技術特征(1),審查員認為在對比文件3的啟示下,該技術特征是本領域技術人員很容易想到的,對于區別技術特征(2),其屬于本領域的常規設計。因此,權利要求1不具備創造性。 針對上述駁回決定,在復審請求中,復審請求人未修改權利要求1的技術方案。因此,復審請求書提交的權利要求1文本與駁回決定針對的權利要求1文本相同。
下面結合本申請的復審請求附頁的意見陳述以及合議組下發的《復審決定書》的復審決定,分析可以從以下幾個方面答辯“容易想到”和“慣用技術手段”:
1、指出審查員的事實認定錯誤:
需要說明,并不是所有審查意見中的事實認定均存在錯誤,有時審查意見中的事實認定并沒有問題。但是,復審請求人在分析審查意見時,首先要認真比對技術特征,再確定審查意見中的事實認定是否正確。當事實認定不正確時,指出事實認定錯誤之處,并給出正確的事實認定。
針對本復審案例,在復審請求中,復審請求人不認同審查員的以下審查意見:對比文件1中的硅底座圓片相當于權利要求1中的第二襯底,并具體陳述了理由:
復審請求人認為,在本申請權利要求1中,第二襯底是構成壓力傳感器本身的一部分,其相當于MEMS壓力傳感器的集成電路芯片。而在對比文件1中,硅底座圓片12是用于封裝傳感器圓片的封裝結構,而非構成壓力傳感器本身的一部分,同時在對比文件1中也沒有明確記載硅底座圓片12的具體結構。
合議組認同復審請求人的上述陳述,并且指出,對比文件1實施例1僅記載了:硅底座圓片12用于提供用以比較壓差的第一壓力入口以及將壓力傳感器圓片11得到的電信號通過焊接凸點14向外輸出。因此,對比文件1中也沒有給出硅底座圓片12可以實現信號處理相關功能的技術啟示。因此,對比文件1中的硅底座圓片12僅是用于封裝的襯底,不能相當于本申請構成MEMS壓力傳感器一部分的第二襯底。
此外,合議組在《復審決定書》中還明確指出,對比文件1中的金屬層24不相當于本申請的導體連線層,具體理由如下:
根據本申請權利要求1的描述可知,導體連線層位于導體間介質層中,信號處理電路的上方,導體連線層的作用是用于將第一襯底中壓力傳感器的信號傳送至第二襯底中的信號處理電路。
而根據對比文件1圖2(下圖I)可以看出,金屬層24直接裸露與整個芯片外部,其與焊接凸點28電連接,并不位于某種介質之間;并且由于對比文件1中也沒有公開信號處理電路,因此,金屬層24也必然不位于信號處理電路的上方。因此,對比文件1中的金屬層24與本申請第二襯底的導體連線層的位置不同,其次,對比文件1中金屬層24的作用是用于將壓力傳感器的信號向MEMS的外部傳送,而不是用于將壓力傳感器的信號傳送至MEMS內部某一襯底中的信號處理電路。所以,兩者的作用也不同,因此,對比文件1中的金屬層24不相當于本申請權利要求1中導體連線層。

圖I
2、基于正確的技術事實認定,重新確定區別技術特征:
具體到本案來說,合議組認為權利要求1相對于對比文件1的區別技術特征如下:(1)第一襯底包括電連線擴散層和所述第一襯底表面的第一粘合層;(2)第二襯底,具有導體間介質層、位于所述導體間介質層中的導體連線層和所述第二襯底表面的第二粘合層;所述第二襯底還包括信號處理電路,所述信號處理電路的上方為導體間介質層和導體連線層;(3)第二襯底與第一襯底通過第一粘合層和第二粘合層固定連接,所述第一粘合層與第二粘合層的圖案對應并且均為導電材料;(4)所述第二襯底與第一襯底相對設置,所述參考壓力腔位于感應薄膜與第二襯底之間。
3、逐條分析上述每一區別技術特征是否顯而易見:
根據《審查指南》的第二部分第3.2.1.1(P173頁)中記載可知:“是否顯而易見”就是確定現有技術整體上是否存在某種技術啟示。并且在《審查指南》第173頁至第174頁中指出,認為現有技術中存在技術啟示的三種情況:
(i)所述區別特征為公知常識,例如,本領域中解決該重新確定的技術問題的慣用手段,或教科書或者工具書等中披露的解決該重新確定的技術問題的技術手段;
(ii)所述區別特征為與最接近的現有技術相關的技術手段,例如,同一份對比文件其它部分披露的技術手段,該技術手段在該其它部分所起的作用與該區別特征在要求保護的發明中為解決該重新決定的技術問題所起的作用相同;
(iii)所述區別特征為另一份對比文件中披露的相關技術手段,該技術手段在該對比文件中所起的作用與該區別特征在要求保護的發明中為解決該重新確定的技術問題所起的作用相同。
根據上述存在技術啟示的三種情況,逐一分析上述區別技術特征:
對于區別(1),對于本領域技術人員而言,為了使硅片中的信號引出,設置電連線擴散層是本領域的常規手段,此外,在對比文件1公開的壓力傳感器圓片金薄膜18與底座圓片12實現鍵合的信息基礎上,本領域技術人員根據需要很容易想到將對比文件1中鍵合用的金薄膜改為粘合用的其它導電材料。因此,區別(1)屬于本領域的慣用技術手段,對權利要求1的創造性沒有貢獻。
對于區別(2),根據本領域的公知常識可知,MEMS通常需要由微結構、電路、封裝三部分構成,其中對微結構作用產生的電信號必須要經過處理電路的調理放大,再通過封裝通信接口才能向外傳遞至基板。可見MEMS壓力傳感器中必然需要設置信號處理電路,因此,雖然對比文件1中的硅底座圓片12不能相當于本申請的第二襯底,但是在MEMS壓力傳感器中設置第二襯底,且在第二襯底上設置信號處理電路均是本領域的常用技術手段。同時,為了引入壓力傳感器的信號,設置導體連線層;以及為了使電信號能夠在需要的位置準確引入引出,設置導體間介質層,將導體連線層設置在介質層中也是本領域的常規手段。因此,該區別(2)對本申請權利要求1的創造性也沒有貢獻。
對于區別(3),根據對比文件1和對比文件3公開的信息,本領域技術人員很容易想到該技術特征,而且對比文件1和3給出了將其用于對比文件1的技術啟示。因此,該區別(3)對本申請權利要求1的創造性也沒有貢獻。
對于區別(4),對比文件1圖1(參見以下附圖II)已經公開了:差壓的第一壓力通過底座圓片12中心的壓力入口19,作用在應變薄膜17上,差壓的第二壓力通過位于玻璃帽子圓片11中心的入口16作用在應變薄膜17,壓力傳感器輸出為這兩個壓力之差。即對比文件1已經公開了:由入口19進入的腔體可作為由入口16進入的腔體的參考壓力腔。

圖II
但是,權利要求1記載了“所述第二襯底與第一襯底相對設置,所述參考壓力腔位于感應薄膜與第二襯底之間”,即本申請的技術方案是在相對設置的第一襯底和第二襯底之間形成參考壓力腔。同時根據說明書的記載,通過在兩個襯底對置設置的同時形成參考壓力腔的這種制作方法,使得第一襯底可以減薄到很小的厚度,有效地減少了傳感器的體積,降低了制作成本。 而在對比文件1中并沒有公開第二襯底,因此對比文件1并沒有公開上述區別特征,且由于對比文件關注的是MEMS傳感器的封裝方法,因此,也沒有給出應用上述區別技術特征的技術啟示。
此外,在本領域技術領域中,根據本領域技術人員掌握的技術知識,現有的MEMS壓力傳感器通常包括壓力傳感器圓片和信號處理圓片,其通常由兩種安裝結構形式,一種是將壓力傳感器圓片和信號處理集成電路圓片分立封裝襯底的左右兩側,二者通過引線連接;另一種是將壓力傳感器圓片置于底座襯底之上,信號處理集成電路圓片置于底座襯底之下,二者通過封裝襯底中的引線連接。其中,壓力傳感圓片需要具有能夠提供參考壓力的參考壓力腔,將壓力變化轉變為電信號的感應薄膜,能夠提供外界壓力的有壓力入口的襯底,因此,常用的壓力傳感圓片通常由三部分構成,蝕刻以形成參考壓力腔的襯底,其上放置蝕刻后的感應薄膜,其上再放置具有壓力入口且具有容納感應薄膜的空腔的封裝襯底,即類似對比文件1圖2(上述圖I)的結構。
而如上所述,由于壓力傳感圓片必須通過一封裝襯底與信號處理芯片相連,因此,即使將對比文件3公開的MEMS裝置設置為壓力傳感器,本領域技術人員也不能確定該壓力傳感器可以省去封裝襯底,設計為如本申請權利要求1的結構,即該空腔106可以為所述MEMS特征108提供參考壓力值,因此,對比文件3沒有給出應用上述區別技術特征4)的技術啟示。
另一方面,雖然設置第二襯底是本領域的常用技術手段,但是根據上面所述的本領域技術人員掌握的技術知識,在兩種常用的MEMS壓力傳感器的結構中,都需要對壓力傳感器圓片進行蝕刻以形成可以作為參考壓力腔的空腔。由于在現有技術的這兩種結構中,壓力傳感器圓片(即第一襯底)都不是直接與信號處理圓片(即第二襯底)對置,因此,現有技術中并沒有給出將兩個襯底對置設置以形成參考壓力腔的技術啟示,所述參考壓力腔也無法位于感應薄膜和第二襯底之間。因此,根據現有證據,無法證明“第二襯底與第一襯底相對設置,所述參考壓力腔位于感應薄膜與第二襯底之間”是本領域的公知常識或常規技術手段,也沒有證據能夠表明在現有技術中存在上述啟示。
綜上,對比文件1、2、3均沒有公開上述區別特征(4),也沒有給出采用上述區別特征的技術啟示,同時目前也沒有證據能夠表明上述特征為本領域的公知常識。且通過以上技術手段,本申請達到了有效減少傳感器體積,降低制作成本的技術效果,所以,權利要求1相對于對比文件1、2和/或3具有突出的實質性特點和顯著的進步,具備創造性,符合專利法第22條第3款的規定。
總結上述區別(4)是否顯而易見的分析,其不僅與對比文件進行對比分析了技術特征本身,而且還從本領域的技術整體狀況出發對區別(4)進行了評析,從而得出根據本領域的技術整體狀況無法得出上述區別(4)顯而易見的結論,從而得出權利要求1具備創造性的結論。
另外,在分析區別特征是否顯而易見時,有時為了保持技術特征之間的相互聯系、協同作用,需要將多個區別特征結合起來形成一個整體來分析,鑒于篇幅的限制,本文針對該點的答辯不再詳細舉例說明。
四、本案啟示
綜合上述復審案例,本文認為:審查員在下發審查意見時,有時會根據自己的主觀認知武斷地、籠統地認為區別技術特征是“容易想到的”或為“本領域的常規技術手段”,這類的審查意見一般缺乏客觀依據,因此,申請人或代理人在答復此類有關“容易想到”和“常規技術手段”的審查意見時,首先要認真比對分析審查意見中的技術特征比對是否正確,在確保技術特征比對正確的基礎上,重新界定區別技術特征,然后再結合本領域的技術狀況對區別技術特征是否顯而易見進行分析,從而得出權利要求是否具備創造性的結論。
以上為筆者的一家之言,難免有不當之處。筆者希望拋磚引玉,文中不妥之處,歡迎各位同行批評指正。