“磁懸浮技術”是巧妙運用“同性相斥,異性相吸”的特性,以磁力克服重力使物體懸浮的一種技術;據稱,目前共有三種“磁懸浮技術”:一是以德國為代表的“常導磁懸浮”技術,二是以日本為代表的“超導電動磁懸浮技術”,這兩種磁懸浮都需要用電力來產生磁懸浮動力。而第三種,就是我國的永磁懸浮技術,它利用特殊的永磁材料,不需要任何其他動力支持。
1842年,英國物理學家Earnshow 就提出了“磁懸浮”的概念,同時指出:單靠永磁鐵是不能將一個鐵磁體在所有六個自由度上都保持在自由穩定的懸浮狀態的。直至2002年加拿大哥倫比亞大學的戴維斯團隊研發出了利用“永磁體懸浮技術”,懸浮體重力能夠被所述磁性底座和所述磁性懸浮體之間產生的磁斥力所平衡,從而懸浮于所述底座上方的預定基準位置,利用懸浮體水平運動控制裝置,將其設置在所述底座內,當所述底座上方懸浮的所述磁性懸浮體在水平方向上偏離所述基準位置時,控制所述磁性懸浮體返回所述基準位置。

廣東省肇慶市衡藝實業有限公司(下稱“原告”)獲得200610065336.1發明專利,并分別在全國范圍內展開專利維權達十余起,并獲得勝訴。
2015年7月27日,原告向杭州中院起訴稱:深圳市宏鑫拓普電子科技有限公司(被告)在阿里巴巴平臺、天貓網絡商城大量銷售被控侵權產品,索賠50萬元人民幣及維權所需合理費用。
阿里巴巴公司答辯稱:(1)阿里巴巴公司屬于網絡服務提供商,應當按照《侵權責任法》第36條第二款的規定免責;(2)原告發送律師函并未證明被告賣家已經構成專利侵權;(3)特別是涉案專利屬于內部構造方面的發明專利,被告賣家僅僅上傳圖片,阿里巴巴沒有侵權審查基礎,無法做出侵權與否的判斷。
被告委托北京市集佳律師事務所武樹辰、李洪江律師出庭應訴,并提出了四方面抗辯主張:(1)CN1729614A現有技術抗辯;(2)禁止反悔原則抗辯,原因是在無效程序中,原告作為專利權人在意見陳述中主動縮小了涉案專利權利要求的保護范圍,即:“該懸浮體為永磁性懸浮體而非電磁性懸浮體”;(3)權利要求保護范圍的解釋應當限定為“一個環形永磁鐵”,雖然涉案專利采用“包括”的開放式權利要求限定其技術方案,但是“對于開放式權利要求”,并不意味著應當將權利要求1中的“包括單一磁性、一個環形永磁鐵”解釋為“一個或者多個磁性、環形永磁鐵”。事實上,權利要求1不僅限定了“單一磁性、一個環形永磁鐵”,還限定了“該環形永磁鐵上環型表面的磁性與所述磁性懸浮體的下磁性端的磁性相反”。如果將“單一磁性、一個環形永磁鐵”理解為“一個或者多個”,那么會出現“多個環形永磁鐵上環型表面的磁性與所述多個磁性懸浮體的下磁性端的磁性相反”,而這些技術方案不僅沒有在涉案專利說明書、附圖中記載,甚至會出現技術特征之間相互矛盾的情形,因此對于“一個環形永磁鐵”應當解釋為“包含一個或者多個”的理解不能支持;(4)權利要求1中的技術特征“懸浮體水平運動控制裝置,設置在所述底座內,當所述底座上方懸浮的所述磁性懸浮體在水平方向上偏離所述基準位置時,控制所述磁性懸浮體返回所述基準位置”屬于“功能性限定”,應當按照《司法解釋一》第四條的規定,結合說明書和附圖描述的該功能或者效果的具體實施方式及其等同的實施方式,確定該技術特征的內容。
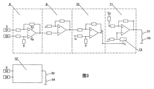
而涉案專利說明書給出了唯一的“具體實施方式”,即:懸浮體水平運動控制裝置包括:①帶鐵芯的四個線圈31、32、33、34;②四個霍爾元件傳感器(磁性傳感器)51、52、53、54,分成兩組分別控制兩組線圈,進而控制懸浮體X、Y方向的自由移動;③在底座內還設置有控制電路板6,由完全相同的相對獨立的控制電路12組成;④控制電路12也僅僅給出一個具體實施方式,即傳感器電壓接入減法電路8(檢測電壓值),經放大電路9(信號放大),與減法電路10的基準電壓U0進行比較,輸出到功放電路;當輸出電壓不為0時,進行勵磁電流的調整。如下圖:
.png)
而被控侵權產品技術方案由于原告怠于行使自身“證明責任”(司法鑒定)的前提下,根本沒有比對對象。 2016年8月24日,杭州市中級人民法院簽發一審判決:駁回原告的全部訴訟請求,案件受理費由原告全部承擔。具體理由為:在專利侵權訴訟中,原告應負有證明侵權事實成立的舉證責任,而被控侵權產品具有與原告所主張權利要求所載全部技術特征相同或者等同的技術特征是侵權事實成立的前提。由于原告因鑒定費用過高主動撤回了“司法鑒定申請”、撤回了“專家輔助人”申請,在功能性限定技術特征無法進行一一比對的前提下,不能判定被控侵權產品落入了涉案專利的保護范圍,因此原告相同侵權主張不能成立。
案后,深圳市宏鑫拓普電子科技有限公司(被告)總經理沈欠輝先生向集佳律師事務所發來感謝信:“這是磁懸浮行業收到的第一份被告勝訴的判決書,非常感謝集佳同仁的無私付出。”